お時間をいただき、申し訳ございません。
こちらで調査を行ったところ、CLIP STUDIO MODELERに
LWOファイルを読み込んだ際に、一部のポリゴンが正常に
読み込まれない状況でございました。
こちらの現象については、今後のCLIP STUDIO MODELERの
アップデートにて修正させていただきます。
よろしくお願いいたします。
CLIP STUDIO MODELERの要望・不具合ボード
最新の障害情報やメンテナンス情報については、こちらのページでご案内しております。
from 素材製作所 さん
2017/03/18 17:48:02
|
トラブル/その他
Paintでレンダリングすると不正な線が出る |
|
|
lwoで作った素材が、paintに直接ドロップしたり、coodinateを使って素材化したりした場合にはちゃんと線が出るのに、modelerを使って素材化したときには不正な線が発生してしまします。 左:そのままドロップした場合 右:モデラーで素材化した場合 ![]() どうしてもModelerで素材化した際の不正な線が消えません。原因の確認をお願いしたいと思います。 OS は Win10, Modelerは1.6.3、Paintは1.6.4です。 lwoファイルはこちらです。 ※URLについては、こちらで削除させていただきました。 |
賛成数:0
反対数:0
from
CLIP
サポート担当
さん
2017/03/21 18:04:12
from
スレ主
素材製作所
さん
2017/03/21 23:15:56
どういう場合に、ポリゴンが正常に読み込まれない現象が起きるのでしょうか?
現在の Clip Studio Modeler で、その現象を回避するためには、3Dモデルをどう修正すればよいでしょうか? 素材づくりに必要なので、教えて下さると助かります。
from
CLIP
サポート担当
さん
2017/03/23 18:41:00
ご返信いただき、ありがとうございます。
本件については、LWOファイルをCLIP STUDIO MODELERで
セットアップしたデータをCLIP STUDIO PAINTに読み込んだ際に
法線ベクトルが歪んでいる場合に発生する現象となります。
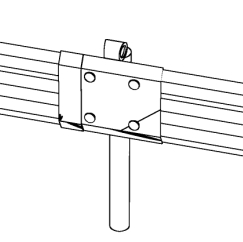
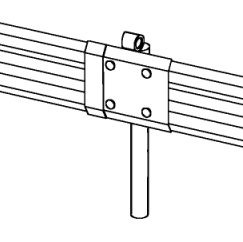
※ガードレールのつなぎの4つのビスの入った鋼板は本来は平面が
正しい状態ですが、斜め対角線にハイライトのような筋が見えて
います。これが法線が歪んでいる状態になります。
法線を正しく計算するためには、三角形分割を正しく行う必要が
ありますが、現状の回避策としましては、LWOなどの3Dデータを
作成いただく際に、全てのポリゴンを三角形分割にして保存
いただくことで現象を回避いただきますようお願いいたします。
お手数ではございますが、よろしくお願いいたします。
本件については、LWOファイルをCLIP STUDIO MODELERで
セットアップしたデータをCLIP STUDIO PAINTに読み込んだ際に
法線ベクトルが歪んでいる場合に発生する現象となります。
※ガードレールのつなぎの4つのビスの入った鋼板は本来は平面が
正しい状態ですが、斜め対角線にハイライトのような筋が見えて
います。これが法線が歪んでいる状態になります。
法線を正しく計算するためには、三角形分割を正しく行う必要が
ありますが、現状の回避策としましては、LWOなどの3Dデータを
作成いただく際に、全てのポリゴンを三角形分割にして保存
いただくことで現象を回避いただきますようお願いいたします。
お手数ではございますが、よろしくお願いいたします。
from
CLIP
サポート担当
さん
2018/09/18 19:20:24
お時間をいただき、申し訳ございません。
ご申告いただいておりました現象について、最新バージョンにて
原因と思われる箇所の修正対応を行っております。
■CLIP STUDIO PAINT アップデータ最新版
まだアップデートがお済みでない場合には、お手すきの際に、
アップデートを行っていただけますと幸いです。
よろしくお願いいたします。
ご申告いただいておりました現象について、最新バージョンにて
原因と思われる箇所の修正対応を行っております。
■CLIP STUDIO PAINT アップデータ最新版
アップデートを行っていただけますと幸いです。
よろしくお願いいたします。
2019年11月28日に本サービスの投稿受付は終了いたしました。「CLIP STUDIO SUPPORT」をご利用ください。




こちらでも頂きましたデータにてご申告の現象が再現することを
確認いたしました。
本現象については、調査を行い、改めてご連絡いたします。
恐れ入りますが、お時間をいただきますようよろしくお願いいたします。